Equipment Manufacturing
Annual Production of 190,000 Automobile Charging Piles Construction Project of Siping City
1. Introduction to the Project
1.1 Project background
1.1.1 Product introduction
New-energy electric vehicle charging piles are similar in function to the fuel dispensers in gas stations. They can be fixed on the ground or walls and installed in public buildings (public buildings, shopping malls, public parking lots, etc.), residential community parking lots, or charging stations. They can charge various models of electric vehicles according to different voltage levels. The input end of the new-energy electric vehicle charging pile is directly connected to the AC power grid, and the output end is equipped with a charging plug for charging electric vehicles.
This project is located in Tiexi District, Siping City, and plans to mass-produce high-voltage fast-charging piles to meet the charging needs after the popularization of urban electric vehicles in the future. At the same time, it will cover Siping urban area and its surrounding areas to provide convenient charging services for electric vehicle users.
1.1.2 Market prospect
(1) Current situation of the new-energy charging pile market
High-voltage fast-charging technology focuses on providing fast-charging solutions for electric vehicles. By using higher voltages and larger currents, this technology aims to shorten the charging time and improve charging efficiency. The high-voltage fast-charging industry usually involves voltage systems of 750V, 800V, and above to achieve a more rapid charging process.
With the popularization of electric vehicles, the utilization rate of charging piles has increased, and the profitability of charging operators has improved. The growing demand of consumers for fast charging has made high-voltage fast-charging technology a key solution, driving the development of the industry. By the end of 2023, the number of public charging piles in China reached 2.726 million, a year-on-year increase of 51%; the number of private charging piles reached 5.87 million, a year-on-year increase of 69%.
In terms of the industrial chain, upstream participants include battery material suppliers and charging equipment manufacturers, who provide battery components, charging modules, and core high-voltage fast-charging technologies; the mid-stream involves the design and production of charging equipment, including the production, construction, and operation of charging piles and charging stations; the downstream is mainly applied to the charging of new-energy vehicles. New-energy vehicle users are the ultimate beneficiaries of the high-voltage fast-charging industrial chain, and their charging needs will drive the continuous development of the entire industrial chain.
In recent years, with the rapid growth of the electric vehicle market and the increasing demand of consumers for fast charging, high-voltage fast-charging technology has significantly shortened the charging time and improved charging efficiency by increasing the voltage and current, and has become a new trend in the development of future charging technologies. Many automakers have begun to adopt high-voltage platforms of 800V and above to achieve faster charging. In 2023, the market size of high-voltage fast-charging in China was approximately 309.7 billion yuan. It is expected that high-voltage models may dominate the market in the next few years.
Looking ahead, the development of high-voltage fast-charging technology will continue to promote the progress of the electric vehicle industry. With the continuous maturity of technology and the further reduction of costs, it is expected that high-voltage charging stations will become more popular, providing electric vehicle users with a more convenient and efficient charging experience. At the same time, policy support and the enhancement of environmental awareness will also provide a strong guarantee for the widespread application of high-voltage fast-charging technology. In the future, high-voltage fast-charging technology will make important contributions to achieving the goals of green travel and sustainable development.
(2) Market prospects of new-energy charging piles
Driven by technological progress and market demand: With the rapid growth in the sales volume of new-energy vehicles, the demand for charging piles has also increased. The number of charging piles in China has grown in 201,000 in 2016 to 5.21 million in 2022, with an average annual compound growth rate of 72%. This market demand has driven the development of fast-charging technology, especially high-voltage high-power DC fast-charging, which has become the future development trend. It is expected that the charging voltage will be upgraded from 500V to 800V, the single-gun charging power will be increased from 60kW to 350kW, and the full-charge time will be shortened from about 1 hour to 10-15 minutes.
The government has strongly supported the construction of new-energy vehicle charging facilities. For example, Shenzhen plans to build a global-leading super-charging facility service system covering multiple scenarios by the end of 2024; Guangzhou has launched the "Super-charging Capital" plan; Hainan has initiated the "Super-charging Island" construction plan; and Beijing has introduced subsidy policies for high-power charging equipment. These policy measures will further promote the development and application of fast-charging technology.
The fast-charging industrial chain for electric vehicles includes upstream equipment suppliers, mid-stream construction and operators, and downstream application markets. Upstream equipment suppliers such as Baowu Steel and Mingtai Aluminium provide raw materials, and charging equipment manufacturers such as Kstar and Shenghong Electric produce super-charging piles and super-charging station equipment. Mid-stream construction and operators such as Star Charge and TELD are responsible for the construction and operation of super-charging stations. The downstream application market mainly includes new-energy vehicle manufacturers and end-customers. This complete industrial chain provides a solid foundation for the development of fast-charging technology.
The progress of fast-charging technology and the growth of market demand have made fast-charging piles a rigid demand with huge growth potential. In particular, high-voltage high-power DC fast-charging piles can significantly shorten the charging time, improve the user experience, and meet the needs of large-scale application of new-energy vehicles. In addition, new technologies such as flexible charging piles are also expected to be further applied to meet the differentiated charging needs of different vehicle models.
In summary, the rapid development of fast-charging technology and the continuous growth of market demand are driving the innovation of new-energy vehicle charging facilities. The support of government policies and the improvement of the industrial chain provide a strong guarantee for this process. In the future, with the further maturity and popularization of technology, fast-charging technology is expected to become the mainstream solution for new-energy vehicle charging and contribute to the realization of the goals of green travel and sustainable development.
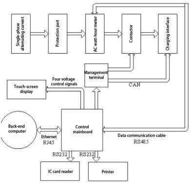
1.1.3 Technical analysis
The R&D technology of this project is relatively mature, and the most cutting-edge production technology is adopted. The products can achieve fast charging, providing urban residents with stable, efficient, and safe services, and further enhancing the urban green environmental protection services.
|
|
Fig. 1 Process Flow of Charging Piles
1.1.4 Advantageous conditions of project construction
(1) Policy advantage
"Guiding Opinions of the State Council on Actively Promoting the 'Internet +' Action" organizes and implements the national new-generation information infrastructure construction project, accelerates the improvement of mobile communication network service capabilities, speeds up the construction of content distribution networks, and optimizes the layout of data centers.
"Made in China 2025" indicates that, by 2020, industrialization will be basically achieved, the status of a major manufacturing country will be further consolidated, and the informatization level of the manufacturing industry will be greatly improved. By 2025, the overall quality of the manufacturing industry will be greatly improved, innovation capabilities will be significantly enhanced, the overall labor productivity will be significantly increased, and the integration of informatization and industrialization will reach a new level.
(2) Land advantage
At present, Siping City enjoys the national new-round policy to support the revitalization of Northeast China, the policy of the central innovation and transformation core area in Jilin Province, and a series of national-level development platform policies. There is 1 national-level development zone, 5 provincial-level development zones, 7 industrial concentrated areas, and 10 characteristic industrial parks in the city, providing a project-bearing platform for high-end enterprises to explore the Northeast market. There is a large stock of developable land resources. In the new-round urban master plan revision, the urban area of Siping will be expanded from 51.6 square kilometers to 121 square kilometers. The newly added land and reserved land can meet the needs of new projects, and the land price is at a low level among the 41 cities in Northeast China.
(3) Talent advantage
Siping City has gathered various types of talents in scientific research, engineering technology, survey and design, operation management, and consulting services. Jilin University, Changchun University of Science and Technology, Changchun University of Technology, Northeast Normal University, Jilin Normal University, Jilin Academy of Agricultural Sciences, Jilin Agricultural Engineering College, and Siping Academy of Science and Technology provide talent support for the development of Siping, forming a complete talent cultivation and growth system.
The city owns 1 higher vocational college, 2 adult universities, and 22 vocational schools. More than 10,000 skilled workers are dispatched to society every year, and more than 20,000 person-times of various types of personnel are trained for the society.
The labor force resource advantage is obvious. The proportion of skilled workers is relatively high among the urban agglomerations in Northeast China. The labor force is in a dividend period with relatively low labor costs. There is a large team of high-quality industrial workers that can meet the needs of various enterprises.
(4) Location and transportation advantage
Tiexi District of Siping City is an important transportation hub and logistics node city in Northeast China, and the city with the shortest transportation radius in Northeast China. Main railway trunk lines such as the Harbin-Dalian High-speed Railway Passenger Dedicated Line, Beijing-Harbin Railway, Qiqihar-Siping Railway, and Siping-Meihekou Railway converge in the urban area. National Highways 102 and 303, and expressways such as Beijing-Harbin Expressway, Changchun-Shenzhen Expressway, and Ji'an-Shuangliao Expressway run through the urban area. It is only a little more than 1-hour drive from Changchun Longjia Airport and Shenyang Taoxian International Airport.
1.2 Contents and scale of project construction
1.2.1 Construction scale
The project has an annual output of 190,000 automobile charging piles.
1.2.2 Construction contents
The project covers a total area of 78,704.53㎡, mainly including the construction of a 45,960㎡ production workshop, an 8,680.63㎡ warehouse, a 3,875.24㎡ administrative office building, a 1,200㎡ dormitory and canteen, and 18,988.66㎡ for public works, greening works and other purposes.
1.3 Total investment of the project and capital raising
1.3.1 Total investment of the project
The total investment of the project is 496 million yuan, including the fixed assets investment of 396.8 million yuan.

1.3.2 Capital raising
Self-raised by the enterprise.
1.4 Financial analysis and social evaluation
1.4.1 Main financial indexes
After the project reaches the production capacity, its annual sales income will be 85.7633 million yuan, its profit will be 28.3019 million yuan, its investment payback period will be 6.3 years (after the tax, including construction period of 1 year), and its return on investment will be 18.87%.

Note: “10 thousand yuan” in the table is in RMB.
1.4.2 Social evaluation
After the implementation of this project, it can meet the market demand of Jilin Province, increase national and local fiscal revenues, drive industrial upgrading and development, and provide more job opportunities for society. In addition, due to the sound environmental protection and governance measures of this project, it will not have an adverse impact on the surrounding environment.
1.5 Cooperative way
Joint venture, other methods can be discussed in person.
1.6 What to be invested by the foreign party
Capital, other methods can be discussed in person.
1.7 Construction site of the project
Tiexi District, Siping City, Jilin Province.
1.8 Progress of the project
Foreign investment attraction.
2. Introduction to the Partner
2.1 Basic information
Name: People's Government of Tiexi District, Siping City
Address: No. 2118, Haifeng Street, Tiexi District, Siping City
2.2 Overview
Tiexi District is located in the western part of Siping urban area. To its east, it faces Tiedong District across the Changchun-Dalian Railway. In the southwest, it borders Changtu County, Liaoning Province, and in the northeast, it adjoins Lishu County. The total area of the district is 176 square kilometers. It governs one township (with 20 villages), five sub-district offices (with 39 communities), and one circular economy demonstration zone. The total population is 256,000. The urban area has complete infrastructure and a beautiful appearance. As the seat of the Siping Municipal Party Committee and the Siping Municipal Government, Tiexi District is the political, economic, cultural, commercial, scientific, technological, and educational center of Siping City.
2.3 Contact method
2.3.1 Contact method of project cooperator:
Contact person: Yuan Bosi
Tel: +86-13304345300
E-mail: sptxzsb@126.com
Postal code: 136000
2.3.2 Contact method of the city (prefecture) where the project is located:
Contact unit: Economic Cooperation Bureau of Siping City
Contact person: Wen Dacheng
Tel: +86-434-3260536



